Porsche патентує «невидимі» гоночні смуги: не просто елемент стилю
Porsche шукає способи перетворити естетику автомобіля на інструмент функціональної комунікації. Нещодавня патентна заявка розкриває інтерес автовиробника до спеціалізованої зовнішньої плівки, здатної змінювати колір натисканням кнопки або навіть автоматично, залежно від стилю водіння.
Технологія: «електронний папір» на колесах
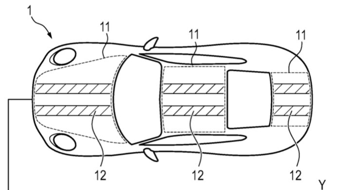
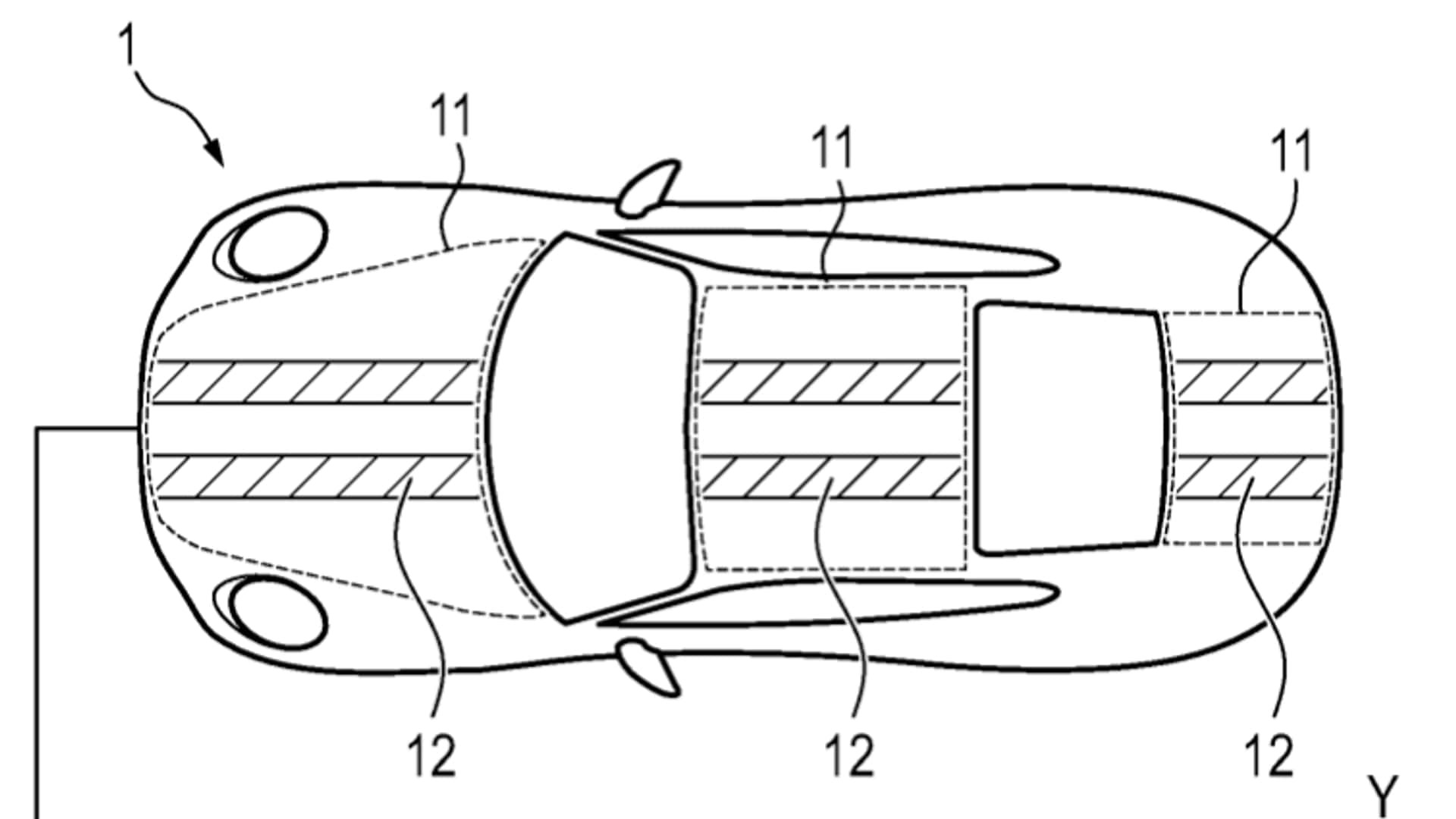
У патенті описується покриття або плівка, що наноситься на кузов автомобіля та реагує на електричну напругу. Porsche називає цю технологію такими термінами, як «електронний папір» або «парамагнітне покриття».
На відміну від традиційної фарби, що залишається незмінною, цей матеріал робить поверхню автомобіля динамічною. При подачі певного електричного струму матеріал змінює пігмент, дозволяючи візерункам з’являтися з базового кольору автомобіля або зникати в ньому.
Більше ніж естетика: функціональні візуальні підказки
Хоча концепція «зникаючих гоночних смуг» звучить як розкішна іграшка, патент Porsche передбачає набагато практичніше застосування. Технологія може бути візуальним інтерфейсом між автомобілем і водієм (або оточуючими) декількома способами:
- Індикатори режимів водіння: Смуги можуть змінювати колір, відображаючи поточні налаштування автомобіля – наприклад, перемикатися на зелений для режиму Eco або на червоний для режиму Sport.
- Керування енергією: В електромобілях (EV) плівка може використовуватися для відображення поточного рівня заряду прямо на кузові, забезпечуючи миттєву візуальну індикацію стану батареї.
- Стратегічне розміщення: Ілюстрації до патенту показують, що ці візерунки можуть з’являтися в різних місцях, включаючи зони за задніми колесами та на задньому дифузорі, що дозволяє використовувати як ледь помітну, так і яскраво виражену сигналізацію.
Контекст: зростаючий тренд на «розумні поверхні»
Ця технологія є розвитком вже існуючих автомобільних інновацій. Ми вже бачили використання електрохромного скла у деяких автомобілях, що змінює ступінь прозорості (тонування) під впливом електричного струму.
Понад те, концепція «машини-хамелеона» не нова. Раніше BMW демонструвала концепт i Vision Dee, в якому використовувалася технологія E Ink для зміни десятків кольорів. Однак підхід Porsche, зважаючи на все, зосереджений на інтегрованій функціональності — переході від простої зміни кольору всього автомобіля до використання специфічних візерунків як високотехнологічна «приладова панель» на зовнішній стороні машини.
Цей зсув віщує майбутнє, де екстер’єр автомобіля перестане бути просто оболонкою і стане динамічним дисплеєм, здатним повідомляти світ про свій стан.
Висновок
Патент Porsche знаменує собою рух у бік інтеграції цифрової інформації у дизайн автомобіля. Перетворюючи гоночні смуги на функціональні індикатори, компанія стирає межу між традиційним кузовним оздобленням та інтерактивними цифровими інтерфейсами.


































